Предохранительный клапан АСТА серии П341 является обновленной версией пропорционального пружинного клапана П04. Применяется для защиты систем от повышения давления выше допустимого путем сброса рабочей среды в утилизационную систему. Применяется для защиты резервуаров, трубопроводов и оборудования систем тепло-, водо-, пароснабжения и других систем.
ТЕХНИЧЕСКИЕ ХАРАКТЕРИСТИКИ:
| Номинальный диаметр |
DN 15 – 25 (1/2” – 1”) |
| Номинальное давление |
PN40 |
| Рабочая среда |
Пар, воздух, вода и другие среды, нейтральные к материалам клапана |
| Температура рабочей среды |
от -60 °С до 220 °С |
| Давление настройки |
0,3 – 30 бар |
| Класс герметичности |
А по ГОСТ 9544-2015 |
| Присоединение |
Резьбовое R-Rc (вход-выход) |
Массогабаритные характеристики
| DNхDN |
R” |
L1, мм |
L2, мм |
H, мм |
Масса, кг |
| 15x15 |
1/2” |
30 |
46 |
160 |
0,5 |
| 20х20 |
3/4” |
35 |
53 |
173 |
0,6 |
| 25х25 |
1” |
40 |
65 |
198 |
1,1 |

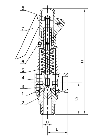
Спецификация материалов
| № |
Наименование |
Материал |
| 1 |
Корпус |
Нержавеющая сталь SS304 |
| 2 |
Седло |
Нержавеющая сталь SS316 |
| 3 |
Плунжер |
Нержавеющая сталь SS316 |
| 4 |
Шток |
Нержавеющая сталь SS304 |
| 5 |
Пружина |
Нержавеющая сталь SS304 |
| 6 |
Винт |
Нержавеющая сталь SS304 |
| 7 |
Рычаг |
Нержавеющая сталь SS304 |
| 8 |
Стопорная гайка |
Нержавеющая сталь SS304 |
Пропускная способность, кг/ч
|
DN
|
15 х 15
|
20 х 20
|
25 х 25
|
|
R”
|
1/2”
|
3/4”
|
1”
|
|
Р
|
I
|
II
|
III
|
I
|
II
|
III
|
I
|
II
|
III
|
|
1
|
18
|
28
|
692
|
39
|
60
|
1478
|
68
|
103
|
2561
|
|
2
|
28
|
43
|
978
|
59
|
91
|
2090
|
102
|
157
|
3622
|
|
3
|
37
|
57
|
1198
|
79
|
122
|
2560
|
137
|
212
|
4435
|
|
4
|
46
|
72
|
1383
|
99
|
153
|
2956
|
171
|
266
|
5122
|
|
5
|
56
|
86
|
1546
|
119
|
185
|
3304
|
206
|
320
|
5726
|
|
6
|
65
|
101
|
1694
|
139
|
216
|
3620
|
240
|
374
|
6272
|
|
7
|
74
|
116
|
1830
|
158
|
247
|
3910
|
275
|
428
|
6775
|
|
8
|
83
|
130
|
1956
|
178
|
278
|
4180
|
309
|
482
|
7243
|
|
9
|
93
|
145
|
2075
|
198
|
309
|
4433
|
343
|
536
|
7682
|
|
10
|
102
|
159
|
2187
|
218
|
341
|
4673
|
378
|
590
|
8098
|
|
11
|
111
|
174
|
2294
|
238
|
372
|
4901
|
412
|
645
|
8493
|
|
12
|
121
|
189
|
2396
|
258
|
403
|
5119
|
447
|
699
|
8871
|
|
13
|
130
|
203
|
2494
|
278
|
434
|
5328
|
481
|
753
|
9233
|
|
14
|
139
|
218
|
2588
|
298
|
466
|
5529
|
516
|
807
|
9582
|
|
15
|
149
|
233
|
2678
|
317
|
497
|
5723
|
550
|
861
|
9918
|
|
16
|
158
|
247
|
2766
|
337
|
528
|
5911
|
585
|
915
|
10243
|
|
17
|
167
|
262
|
2851
|
357
|
559
|
6093
|
619
|
969
|
10559
|
|
18
|
176
|
276
|
2934
|
377
|
591
|
6270
|
653
|
1023
|
10865
|
|
19
|
186
|
291
|
3015
|
397
|
622
|
6441
|
688
|
1077
|
11162
|
|
20
|
195
|
306
|
3093
|
417
|
653
|
6609
|
722
|
1132
|
11452
|
|
21
|
204
|
321
|
3182
|
437
|
684
|
6807
|
756
|
1186
|
11795
|
|
22
|
213
|
336
|
3274
|
457
|
715
|
7011
|
790
|
1240
|
12137
|
|
23
|
-
|
351
|
3369
|
-
|
746
|
7212
|
-
|
1294
|
12489
|
|
24
|
-
|
366
|
3467
|
-
|
777
|
7421
|
-
|
1348
|
12851
|
|
25
|
-
|
380
|
3568
|
-
|
808
|
7636
|
-
|
1402
|
13211
|
|
26
|
-
|
394
|
3675
|
-
|
839
|
7857
|
-
|
1456
|
13581
|
|
27
|
-
|
408
|
3781
|
-
|
869
|
8085
|
-
|
1510
|
13961
|
|
28
|
-
|
423
|
3894
|
-
|
901
|
8320
|
-
|
1564
|
14366
|
|
29
|
-
|
438
|
4005
|
-
|
932
|
8553
|
-
|
1618
|
14769
|
|
30
|
-
|
453
|
4117
|
-
|
963
|
8792
|
-
|
1672
|
15231
|
P – давление начала открытия, бар; пропускная способность для рабочих сред: I – пар, кг/ч; II – воздух, нм3/ч; III–вода, л/ч.
ООО «Вайз Инжиниринг» гарантирует нормальную работу оборудования при условии соблюдения правил транспортировки, хранения, монтажа и эксплуатации, указанных в эксплуатационной документации. Гарантийный срок составляет 12 месяцев с момента ввода в эксплуатацию, но не более 18 месяцев с момента продажи.
Расчетный срок службы оборудования составляет не менее 10 лет, при условиях его эксплуатации в соответствии с правилами и рекомендациями настоящего документа, при отсутствии длительных пиковых нагрузок и других негативных факторов.